全9件 (9件中 1-9件目)
1
皆様こんにちは。表題の件ですが、現在プレ企画の商品の発送が遅れております。仕事上大ピンチに陥っており作成が遅れております。楽しみにして下さっているのに申し訳ありません。必ず発送しますので今暫くお待ちください。
2010.02.28
コメント(6)

みなさんこんにちは。先日早速ガンダムユニコーンを劇場に観に行ってきましたよ~♪約1時間全6話?の1話目でしたが鳥肌モノ連続でした!!ガンダムファンの方は是非劇場で観て下さいね♪なんと全国で数館しか公開されないようですが、遠出する価値はありますよ~ブルーレイは持っていないので購入しませんでしたが、パンフレットだけでも入手しました。アムロとシャアは現在行方不明なようです(汗)今回のシリーズでは出て来ないかもしれませんね・・・仮面の男は一体誰?第2話は秋に公開のようです、是非また劇場公開して欲しいです♪
2010.02.23
コメント(2)

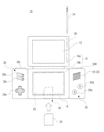
みなさんこんにちは。なんと任天堂がある特許を申請しているそうです。タッチスクリーンをタッチするとダメージに応じてスクリーンが振動する仕組みのようです。何か合虫に採用されている新筺体に・・・肝はダメージに応じて振動の強さが変わる処のようです(汗)次期携帯機はこの形になるのかな?GBスロットを復活させて欲しい・・・
2010.02.23
コメント(0)

みなさんこんばんは。77777HITプチプレ企画にご応募ありがとうございました。最初と最後にご応募頂いた白筋カミキリさんかいムシさん当選おめでとうございます♪本日残り1枠の抽選を行います~抽選には神様あみだくじを使用しました。応募順にお名前を入れて~ドン!!shaymin717さん 当選おめでとうございます♪おおっ出産祝い!?ご希望の賞品が決まりましたらご連絡下さいませ~そして!!外れてしまった方にも残念賞をプレゼント!!ご希望の方にシクレを発送しますね~この日記にご希望の意志をコメント下さいませ。里のムシ博士さんは持っていらっしゃるので何か考えます(笑)それではみなさまこれからも宜しくお願い致します。
2010.02.15
コメント(10)

皆さんこんにちは。来週よりガンダム逆襲のシャアから3年後の世界を描くガンダムUC(ユニコーン)が劇場公開されます~シャアのその後はどうなったのか?アムロは登場しないようですが長年の謎が明らかになるのか!?モノスゴ楽しみです♪今回の劇場版は春からスタートするOVAのプロローグ的な作品の様ですが絶対に見に行かねば!!プロモーションが見れますので飛んでっちゃって~http://extr.b-ch.com/freemv/view/gundam_uc_03/index.htmlhttp://extr.b-ch.com/freemv/view/gundam_uc_04/index.htmlこれを見ただけでワクワクですね!!さらに夏には劇場版ガンダムOOが公開されます!!近年のガンダムでは一番イイ♪こちらはTV版の数年後を描いたストーリーのようです。どっちも楽しみですね!!もういっちょ!いいなぁ・・・
2010.02.15
コメント(8)

みなさんおはようございます。先日は久々に息子とみどりの筺体でひと勝負!買い物ついでだったのでノースキャンムシキングにて・・・辛くも3本目で勝利♪やっぱり楽しい~さて昨日はあの日でしたね。奥様+職場より頂きました~そして本命!?娘の手づくりチョコです!!年々上手になってきましたよ~♪いつかパパにはくれなくなる日がくるのが寂しい・・・
2010.02.14
コメント(2)

皆さんこんにちは。ただいま姉妹ブログ里のムシ研究室にて230000HITプレ企画開催中です♪里のムシ博士さんの素晴らしいオリカゲットのチャンス!!締め切りは2月12日PM10:00です。私もエクアブルーを協賛させて頂いてますよ♪奮ってご応募くださいね~それと私のブログも無事77777HITを通過しました♪3日坊主の私がここまで来れたのは皆様との交流があってこそ、本当にありがとうございます。そこで!77777HIT突破プチプチプレ企画発動です♪ご応募終了しましたありがとうございましたオリカの中でご希望の1枚を抽選で3名様にプレゼントします~究極完全体コーカサスアダータランアダーウエストウッディーダークサイドネプチューン他にもあったので復活希望があれば・・・応募締め切りは2月11日15時とします。抽選方法はプレゼント希望の方で1番目、そして締め切り前最後にコメント下さった方とします。希望されない方は順番に数え無いのでご注意くださいね。もう1名はそれ以外のご希望の方から抽選にします~応募ご希望の方はコメントにプレ企画希望の意志(必須)、今のカードゲーム業界に一言を頂けるとありがたいです。希望カードは当選後にお聞きしますのでこのコメントには書かなくて結構です。コメ返しは少しお時間頂く事になりますがご容赦くださいませ。それではご応募お待ちしております♪これからも里のムシ研究室、ムシゴロウ王国を宜しくお願い致します。
2010.02.08
コメント(15)
皆さんこんにちは。セガの新ゲーム目白押しですが、ロングヒットは・・・しんちゃんパパです。私はこれは!というゲームしか手を出しません。奥さんと一緒で一人を長く愛したいから(嘘)冗談はさておき今回のラーメン屋理論・・・人気のラーメン店は何時も行列が出来てますよね。行列が出来ていると何だろう?と通り過ぎる車からでも気になります。そして実際に並びどんな味か想像を膨らまし並ぶのもまた楽しかったり。たまにラーメンは普通だったりします・・・あの行列がポイントですよね、行列があると気になって仕方がありません。なんで行列ができるのでしょう?まず店内が狭いお店が多いですね、そして麺にこだわりゆで時間が長い!しまいにはスープにこだわりスープ無くなり次第終了なんてお店も・・・ここで筺体をラーメン屋に置き換えてみましょう(笑)今のゲームは複数置いてあり買うモードまであるので全く並んでいません。おまけに配列まであり美味しいカードにもまず出会えません。過度な行列は良くありませんが並んでいる時、前後の子とコレクション自慢したりゲームについて話したりいい面もありますよね。そして並んでいる行列を見て興味の無かった子も並んでみたくなる(笑)私の仕事場でも一人お客様がつくと他の客様が集まって来ることが多いです。ゲッテンカは複数置いてあるお店も増えて来ましたが、並んでいるのをほとんど見ません。ここは我慢して1台に戻して、その分多くのお店に配置しましょう!ビデオレンタル店の歴史コーナーや本屋の風除室等に置いてみてもいいかも?そこに行列が出来たら困りますがね(笑)ラーメン屋理論あながち間違っていないと思うのですが・・・
2010.02.04
コメント(6)

ムシブログらしく、たまには・・・・パクリですスミマセン・・・里のムシ博士さんが最強ムシについて鋭い考察をされていますね♪確かに一般的にはヘルクレスが最強ですが、コーカサスの攻撃力は凄まじいですね!!あの長い脚で掴まれるととても離れません、無理に引っ張ると爪が肉に食い込む始末・・・実際の森で出会う事はありませんが凄まじいバトルになるでしょうね!!という事で伝説の動画を・・・今年の夏は皆でリアルムシキングでもしますか~!?
2010.02.01
コメント(12)
全9件 (9件中 1-9件目)
1